描述
STM8S003F3/K3值线8位微控制器提供8k字节的闪存程序内存,加上集成的真实数据EEPROM。它们在STM8S微控制器系列参考手册(RM0016)中被称为低密度设备。
STM8S003F3/K3值线设备提供了以下优点:性能、健壮性和降低的系统成本。
设备的性能和鲁棒性是由支持真正的数据EEPROM高达100000个写/擦除周期,先进的核心和外设在一个最先进的技术,强大的i/o,独立的监视器与单独的时钟源,和一个时钟安全系统。
由于具有内部时钟振荡器、看门器和棕色重置的高系统集成水平,系统成本降低了。
提供了完整的文档以及广泛的开发工具选择。
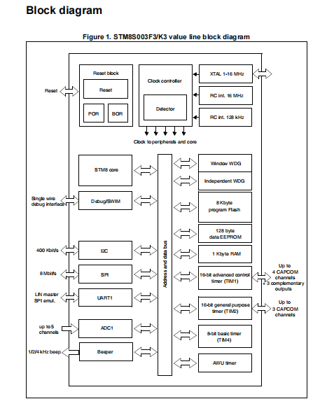
特征
果心
•哈佛大学16 MHz高级STM8内核
架构和三级管道
•扩展指令集
回忆
•程序存储器:8 KB闪存;数据
100次循环后在55°C下保持20年
•RAM:1 KB
•数据存储器:128字节真实数据EEPROM;
耐久性敢达100 k写入/擦除周期
时钟、重置和电源管理
•2.95 V至5.5 V工作电压
•灵活的时钟控制,4个主时钟源
–低功率晶体谐振器振荡器
–外部时钟输入
–内部,用户可微调16 MHz RC
–内部低功率128 kHz RC
•带时钟监视器的时钟安全系统
•电源管理
–低功率模式(等待、主动停止、停止)
–单独关闭外围时钟
–永久激活,低功耗
通电和断电复位
中断管理
•具有32个中断的嵌套中断控制器
•6个矢量上最多27个外部中断
计时器
•高级控制定时器:16位,4 CAPCOM
通道,3个互补输出,死区时间
插入和灵活同步
•16位通用定时器,带3个CAPCOM
通道(IC、OC或PWM)
•带8位预分频器的8位基本计时器
•自动唤醒计时器
•窗口和独立看门狗计时器
通信接口
•具有同步时钟输出的UART
操作,智能卡,IrDA,LIN主模式
•最高8 Mbit/s的SPI接口
•I
2C接口,最高可达400 Kbit/s
模数转换器(ADC)
•10位ADC,±1 LSB ADC,最多5位
多路复用通道、扫描模式和模拟
监察人
输入/输出
•32针封装上最多28个I/O,包括21个
高宿输出
•高度鲁棒的I/O设计,不受
电流注入
开发支持
•嵌入式单线接口模块
(SWIM),用于快速片上编程和非侵入式调试

